發表時間: 2025-08-19 17:04:52
作者: 石油化工設備維護與檢修網
瀏覽: 609
化工泵的密封對整個設備運轉來說起著重要的作用,化工泵的密封系統泄漏將會嚴重影響到設備的正常運轉。目前,我國使用的泵主要使用的軸封裝置有以下幾種方式:填料密封、迷宮密封、機械密封、油封密封、墊片密封、螺紋密封、動力密封,你知道幾個?

油封密封
化工泵油封是一種自緊式唇狀密封,其結構簡單,尺寸小,成本低廉,維護方便,阻轉矩較小,既能防止介質泄漏,也能防止外部塵土和其它有害物質侵入,而且對磨損有一定的補償能力,但不耐高壓,所以一般用在低壓場合的化工泵上。

化工泵依靠離心原理來抽取液體物料,特殊材料制成的化工泵適用于瓶、桶、缸、池或其他容器中抽取腐蝕性液體。由于化工泵所抽取的介質有腐蝕、揮發、爆炸等危險性的存在,對泵體的密封性能要求,要比其他種類的泵高很多。
化工泵油封應安裝在制造精度為h8~h9,表面粗糙度為1.6~0.8μm且經過表面硬化處理的軸上。密封介質不應含有固體微粒和雜質,否則會造成油封和軸的迅速磨損而使密封失效。
在選擇此種密封方法是,要充分考慮化工泵所輸送到物料的性能和要求,以避免不必要的泄漏,防止事故的發生。
造成油封漏油的主要因素:
油封密封不嚴是造成漏油的主要因素。當軸出現磨損形成溝槽,即使更換新油封仍不能密封時,是由于油封唇口與軸的接觸壓力下降,造成安裝后油封唇直徑與軸徑的過盈量太小。現以S195型柴油機曲軸油封為例,分析其密封不嚴的主要原因是:
油封制造質量差;
軸或軸承質量差;
使用維護不當;
安裝不當;
保管不當,受環境污染造成不良影響。
油封密封不嚴而漏油的對策:
1、掌握和識別偽劣產品的基本知識,選購優質、標準的油封。
2、安裝時,若軸徑外表面粗糙度低或有銹斑、銹蝕、起毛刺等缺陷,要用細砂布或油石打磨光滑;在油封唇口或軸徑對應位置涂上清潔機油或潤滑油脂。
油封外圈涂上密封膠,用硬紙把軸上的鍵槽部位包起來,避免劃傷油封唇口,用專用工具將油封向里旋轉壓進,千萬不能硬砸硬沖,以防油封變形或擠斷彈簧而失效;若出現唇口翻邊、彈簧脫落和油封歪斜時必須拆下重新裝入。
應該注意的是:當軸徑沒有磨損和油封彈簧彈力足夠時,不要擅自收緊內彈簧。

3、應用在機械上的油封一般工作條件惡劣、環境溫差大、塵埃多、機具振動頻繁使機件受力狀況不斷變化時,要勤檢查、保養和維護。
4、如軸徑和軸承磨損嚴重;油封橡膠老化或彈簧失效等,應及時進行修理和更換相應部件。
5、對不正常發熱的部件或總成應及時排除故障;避免機械超速、超負荷運轉,以防止油封唇口溫度升高、橡膠老化、唇口早期磨損等。
6、要經常檢查機油油位,若機油雜質過多,存有合金粉末、金屬鐵屑時要徹底更換新機油。所換機油牌子和質量要符合季節的要求。
建議在機油中添加邁特雷超級密封劑&潤滑劑,它是一種極好的齒輪箱添加劑,可以在部件上形成一種惰性材料薄膜,它可以減緩油封的滲漏,延長油封齒輪的使用壽命,也可以降低齒輪箱的噪音,這種邁特雷超級密封潤滑劑的使用不會對油品造成污染或使油品變質。
墊片密封
化工泵常用的密封方法,有墊片密封法。墊片是離心泵靜密封的基本元件,使用范圍非常廣泛。墊片的選型主要根據化工泵輸送介質、溫度、壓力和腐蝕性等因素決定。

墊片密封機理:
泄漏即介質從有限空間內部流到外部,或從外部進入有限空間內部的人們不希望發生的現象 ,介質流動通過內外空間的交界面即密封面發生泄漏。
造成泄漏的根本原因是由于接觸面上存在間隙,而接觸面兩側的壓力差、濃度差則是泄漏的推動力。由于密封面形式及加工精度等因素的影響,密封面上存在間隙在所難免,這就會造成密封面不完全吻合,從而發生泄漏。
要減少泄漏,就必須使接觸面最大程度地嵌合,即減小泄漏通道的 截面積,增加泄漏阻力,并使之大于泄漏推動力。
對密封面施加壓緊載荷,以產生壓緊應力,可提高密封面的接觸程度,當應力增大到足以引起表面產生明顯的塑性變形時,就可以填補密封面的間隙,堵塞泄漏通道。
使用墊片的目的就是利用墊片材料在壓緊載荷的作 用下較容易產生塑性變形的特性,使之填平法蘭密封面的微小凹凸不平,從而實現密封。

墊片的選擇:
化工泵密封墊片選擇化工泵所抽取的介質有腐蝕、揮發、爆炸等危險性的存在,對泵體的密封性能要求,要比其他種類的泵高很多。
化工泵常用的密封方法,有墊片密封法。墊片是離心泵靜密封的基本元件,使用范圍非常廣泛。墊片的選型主要根據化工泵輸送介質、溫度、壓力和腐蝕性等因素決定。
當化工泵輸送介質,對溫度和壓力不高時,一般選用非金屬密封墊片;當化工泵輸送介質為中壓高溫時,選用非金屬與金屬組合墊片。
非金屬墊片在泵上應用最為普遍,其材料一般為紙、橡膠和聚四氟乙烯。當溫度不超過120℃,壓力在1.0Mpa以下時,一般選用青殼紙或模造紙墊片。
如果當化工泵輸送介質為油,溫度在-30~110℃時,一般選用耐老化性能較好的丁晴橡膠。當當化工泵輸送介質,在-50~200℃時,選用氟橡膠更為合適。因為它除了耐油耐熱外,機械強度大也是其主要特征。
在化工泵中由于所輸送介質具有腐蝕性,所以一般選用聚四氟乙烯做為墊片材料。隨著化工泵使用的領域越來越廣泛,所輸送介質種類也越來越多,因此在選用墊片材質時應查閱相關資料或通過實驗后再做出正確選擇。
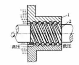
填料密封

化工泵填料密封是將富有壓縮性和回彈性的填料放入填料函內,依靠壓蓋的軸向壓緊力轉化為徑向密封力,從而起到密封作用。
這種密封方法稱為填料密封,這種填料稱為密封填料。由于填料密封結構形式簡單,更換方便、價格低廉、適應轉速、壓力、介質寬泛而在化工泵的設計中得到普遍采用。
填料密封的原理:
在機械行業中填料密封主要用作動密封,常用作離心泵、壓縮機、真空泵、攪拌機的轉軸密封。填料裝入填料腔以后,經壓蓋螺絲對它作軸向壓縮,當軸與填料有相對運動時,由于填料的塑性,使它產生徑向力,并與軸緊密接觸。
與此同時,填料中浸漬的潤滑劑被擠出,在接觸面之間形成油膜。由于接觸狀態并不是特別均勻的,接觸部位便出現邊界潤滑狀態,稱為”軸承效應”;而未接觸的凹部形成小油槽,有較厚的油膜,接觸部位與非接觸部位組成一道不規則的迷宮,起阻止液流泄漏的作用,此稱”迷宮效應”。
這就是填料密封的機理。良好的密封在于維持“軸承效應”和”迷宮效應”。也就是說,要保持良好的潤滑和適當的壓緊,若潤滑不良,或壓得過緊都會使油膜中斷,造成填料與軸之間出現干摩擦,最后導致燒軸和出現嚴重磨損。
因此,我們需要經常對填料的壓緊程度進行調節,使填料中的潤滑劑在運行一段時間而有所流失之后,再擠出一些潤滑劑,同時補償填料因體積變化所造成的壓緊力松弛。
當然這樣經常擠壓填料,最后將使浸漬劑枯竭,所以定期更換填料是必要的。此外,為了維持液膜和帶走摩擦熱,有意讓填料處有少量泄漏也是必要的。

填料密封在化工泵使用中存在的問題:
化工泵的軸封一般采用具有耐磨性,耐熱性,柔軟性好,強度高等優點,我們在用盤根填料,發現其具以下個缺點:
①填料表面粗糙,摩擦系數大,有滲漏現象,另外使用久了浸入的潤滑劑容易流失。
②新修好的設備,開始運行時軸封狀況良好,但用不了多久,泄漏量便不斷增加,調整壓蓋和更換填料的工作也逐漸頻繁,運轉不到一個周期,軸套就已磨損成花瓶狀,嚴重時還會出現軸套磨斷,并且水封環后面更換不到的盤根填料均已腐爛,無法起到密封作用。
③填料與軸直接接觸,且相對轉動,造成軸與軸套的磨損,所以必須定期或不定期更換軸套。
④為了使盤根與軸或軸套間產生的摩擦熱及時散掉,盤根密封必須保持一定量的泄漏,而且不易控制。
⑤盤根與軸或軸套間的摩擦,造成電機有效填料密封的原理功率降低,消耗電能。

填料密封故障表現及原因:
從填料密封的原理看,流體在密封腔內可泄漏的通道有三處:其一是流體穿透密封材料造成泄漏;其二是從填料與填料箱體之間泄漏;其三是從填料與軸表面之間泄漏。主要故障和原因有以下幾種:
填料外表面被研傷,填料壓蓋外側泄漏,是由于填料外徑太小。
填料擠進軸和擋圈或軸和壓蓋之間的間隙時,多因為設計的間隙過大或偏心。
介質沿填料壓蓋泄漏,是因為填料裝配不當或擋圈又破損。
泄漏過大,已無法調節,是因為填料膨脹或破壞,填料切得太短或裝配錯誤。
動力密封

化工泵在與運轉時,副葉輪所產生的壓頭平衡了主葉輪出口高壓液體,從而實現密封。停車時,副葉輪不起作用,因此必須同時配備停車密封裝置解決停車時可能產生的化工泵泄漏。
副葉輪密封結構簡單、密封可靠、使用壽命長,化工泵運轉中可實現滴水不漏,因此在化工泵輸送含雜質介質的泵上經常采用。
動力密封有離心密封、螺旋密封、磁流體密封等,其中螺旋密封很有前景。全封閉式密封有隔膜式和屏蔽式等。
1.離心動力密封
離心動力密封使用前提。離心動力密封是借離心力作用,將液體介質沿徑向甩出,阻止液體進入泄漏縫隙,從而到達密封的目的。
離心密封僅適用于液體介質,對氣體介質則不適用。因此,如果在使用離心密封的地方還要求氣密性,則必須接納離心密封與其他類型的密封組合起來的組合密封類型。
最經常使用的離心密封是甩油盤,甩油盤廣泛用于各種傳動裝置,用以封潤滑油或其他液體。甩油盤密封不受速度限制,只要甩油盤強度足夠,那么,轉速越高則甩油密封的效果越好;反之,如果轉速太低或靜止不轉則甩油密封無效。
別的甩油盤密封也不受高溫限制。因此,泵軸;殼體;一密封蓋甩油盤密封很適用于高溫高速例如導熱油泵,但是,這種密封不能用于高壓,一般用于壓差為零或較接近于零的場合,導熱油泵密封形式就是這種。
離心甩油盤結構簡單,成本低,沒有摩擦功率消耗,也沒有磨損,不需維護,所以用途廣泛。

離心密封結構。離心密封它是沒有甩油盤的甩油密封裝置:在平滑的軸上,液體介質寄托其附著力很容易沿軸的外貌爬動,因而便于泄漏;
如果在光軸上車出一兩個環槽,則液體很難越過環槽上鋒利突變的交界面,此時,借助于轉軸的離心力很容易將液體甩掉,以保證封嚴。
離心甩油盤與軸制成一體,它把企圖滲漏的液體擋住,并在離心力的作用下將液體甩到密封蓋的圓周上,之后流入下方的回油孔舉行回油。
在密封蓋與甩油盤共同的地方設有環槽,這使得密封蓋壁上的液體可以或許沿著環槽流下,而不至流入密封蓋與軸之間的間隙中。
設計離心甩油密封裝置時,應盡可能減少甩油盤與密封蓋之間的徑向間隙以及軸向間隙,以盡可能減少密封蓋與軸之間的徑向間隙。此時,密封蓋的環槽應足夠大,密封蓋與甩油盤之間的甩油空間應足夠大,回油通道應盡可能流通。
甩油葉輪密封相當于在油盤的一面或兩面配置若干片,寄托葉輪旋轉時產生的鼓風作用,使泄出的潤滑油隨徑向流動的氣流甩向回流孔,從而減少了潤滑油沿軸向外偏。
甩油葉輪的葉片不宜太大,數目也不宜過多。因為太強烈的氣流與潤滑油混合會產生泡沫,對回油不利,且葉片大消耗功率也大。
背葉片密封及副葉輪密封,經常用作IS離心泵軸封。副葉輪密封往往在密封腔內側配置若干固定導葉片,它們可以起穩流與部分消除副葉輪平滑面的增壓作用,從而提高葉輪的密封能力。
離心動力密封的特點在于它沒有直接接觸的摩擦副,可接納較大的密封間隙,因此能密封含有固相雜質的介質,磨損小,壽命長,設計合理可以做到零泄漏。
但是克服壓差的能力低,功率消耗大,甚至可達泵有用功率的l/3。此外,由于它是一種動力密封,所以一停車立即喪掉密封能力,為此必須輔以停車密封。
2.螺旋動力密封
螺旋動力密封的工作原理相當于一個螺桿容量泵,設軸上切出右螺旋(或在殼體上、在兩者都刻有螺旋槽),軸的旋轉標的目的從右向左看為順時針標的目的,則液體介質與殼體的摩擦力為逆時針標的目的,而摩擦力F在該右螺紋的螺旋線上的分力向右,故液體介質猶如螺母沿螺桿松退環境一樣,將液體推向右方。
跟著容量的不斷縮小,壓頭逐步增高,這樣,建立起的密封壓力與被密封流體的壓力相平衡,從而阻止了泄漏。
設計螺旋密封裝置時,對于螺旋的趕油標的目的要出格注意,若把標的目的弄錯了,不單不能密封,相反,卻把液體趕向漏出標的目的,使得泄漏量大為增加。
顯然,螺旋密封亦是一種動力密封,在停車或低速環境下將掉去密封功能,因而往往要匡助以停車密封,這使裝置復雜化,且要求有足夠的軸向尺寸。
機械密封

目前廣泛采用耐腐蝕的四氟機械密封件可以有效的防止液體的泄漏。任何形式的密封都要防止化工離心泵的空轉,一旦空轉密封就有可能燒毀
機械密封的原理:
機械密封又叫端面密封,它是一種旋轉機械的軸封裝置,指由至少一對垂直于旋轉軸線的的端面在液體壓力和補償機構彈力的作用以及輔助密封的配合下保持貼合并相對滑動而構成的防止流體泄漏的裝置。
它的主要功用將易泄漏的軸向密封改變為較難泄漏的端面密封。它廣泛應用于泵、釜、壓縮機及其類似設備的旋轉軸的密封。機械密封通常由動環、靜環、壓緊元件和密封元件組成。其中動環隨泵軸一起旋轉,動環和靜環緊密貼合組成密封面,以防止介質泄漏。
動環靠密封室中液體的壓力使其端面壓緊在靜環端面上,并在兩環端面上產生適當的比壓和保持一層極薄的液體膜而達到密封的目的。壓緊元件產生壓力,可使泵在不運轉狀態下,也保持端面貼合,保證密封介質不外漏,并防止雜質進入密封端面。
密封元件中密封動環與軸的間隙,靜環與壓蓋的間隙的作用,同時彈性元件對泵的振動,沖擊起緩沖作用。機械密封在實際運行中是與泵的其它零部件一起組合起來運行的,機械密封的正常運行與它的自身性能,外部條件都有很大的關系。
但是我們要首先保證自身的零件性能,輔助密封裝置和安裝的技術要求,使機械密封發揮它應有的作用。
機械密封在化工泵使用中存在的問題:
機械密封的零件的故障旋轉設備在運行當中,密封端面經常會出現磨損,熱裂,變形,破損等情況,彈簧用久了也會松弛,斷裂和腐蝕。輔助密封圈也會出現裂口、扭曲和變形、破裂等情況。
機械密封的故障表現及原因:
①機械密封振動、發熱。設備旋轉過程中,會使動靜環貼合端面粗糙,動靜環與密封腔的間隙太小,由于振擺引起碰撞從而引起振動。
有時由于密封端面耐腐蝕和耐溫性能不良,或是冷卻不足或端面在安裝時夾有顆粒雜質,也會引起機械密封的振動和發熱。
②機械密封介質泄漏。靜壓試驗時泄漏,機械密封在安裝時由于不細心,往往會使密封端面被碰傷、變形、損壞、清理不凈,夾有顆粒狀雜質,或是由于定位螺釘松動、壓蓋沒有壓緊,機器,設備精度不夠,使密封面沒有完全貼合,都會造成介質泄漏。如果是軸套漏,則是軸套密封圈裝配時未被壓緊 或壓縮量不夠或損壞。
③周期性或陣發性泄漏。機械密封的轉子組件周期性振動,軸向竄動量太大,都會造成泄漏。
④機械密封的經常性泄漏。機械密封經常性泄漏的原因有很多方面。第一方面,由于密封端面缺陷引起的經常性泄漏;第二方面,是輔助密封圈引起的經常性泄漏;第三方面,是彈簧缺陷引起的泄漏。其他方面,還包括轉子振動引起的泄漏,傳動,緊定和止推零件質量不好或松動引起泄漏等;
⑤機械密封振動偏大。機械密封振動偏大,最終導致失去密封效果。但機械密封振動偏大的原因往往不僅僅是機械密封本身的原因,泵的其它零部件也是產生振動的根源。
螺紋密封

螺紋密封在化工泵上一般有兩種形式,一種是螺紋聯接墊片密封,一種是螺紋加填充濟密封,二者皆用于小直徑螺紋連接的密封場合。螺紋聯電動隔膜泵接墊片密封的密封件是墊片,而螺紋只起提供壓緊力的作用。
螺紋密封在化工泵上一般有兩種形式,一種是螺紋聯接墊片密封,一種是螺紋加填充濟密封,二者皆用于小直徑螺紋連接的密封場合。螺紋聯接墊片密封的密封件是墊片,而螺紋只起提供壓緊力的作用。
密封的效果除了墊片的本身性能外,密封面的粗糙度以及與螺紋孔的相對幾何位置精度對密封效果影響也很大。于由密封墊片在擰緊螺紋時不僅承受壓緊力,還承受扭矩,使墊片產生變形甚至損壞,因此,當墊片為非金屬時,一般只適用于壓力不高的化工泵,如果墊片為金屬則適用壓力可達30Mpa以上。
化工泵上經常使用的絲堵,則是另一種螺紋密封形式。
由于考慮到絲堵制造的經濟性,一般單靠螺紋的配合不能起到密封作用,往往用生膠帶,密封膠等填充物填充螺紋的密封間隙。其承壓能力取決于螺紋的制造精度和材質,與絲堵和螺紋孔的配合形式沒有關系。螺紋孔與絲堵無論采用“錐對錐”還是“柱對錐”,密封效果相同,只是使用地域不同而已。
迷宮密封

在設計合理,加工精良,裝配完好、轉速較高時,迷宮密封效果很好。但在實際應用中,因此而產生的化工泵泄漏卻很多,所以在化工泵密封中不常用。
在設計合理,加工精良,裝配完好、轉速較高時,迷宮密封效果很好。但在實際應用中,因此而產生的化工泵泄漏卻很多,所以在化工泵密封中不常用,分析其原因主要有:
1、密封副(如軸和軸承壓蓋)配合間隙太大,而此間隙與密封效果成反比。配合面粗糙,明顯的螺旋狀車刀痕在有些情況下也加大了化工泵泄漏趨勢。
2、化工泵軸承室內潤滑油注入量太多,其溢出壓力超過了密封阻力。
3、油窗或油位計安裝位置有誤,誤導了人們對油室內潤滑油量的正確判斷.
4、運轉中油溫的升高使其粘度降低,增加了化工泵泄漏的可能。
5、回油槽或回油孔尺寸偏小,或受到其它障礙,使被阻滯的液體不能順利返回而造成泄漏。
化工泵所抽取的介質有腐蝕、揮發、爆炸等危險性的存在,對泵體的密封性能要求,要比其他種類的泵高很多。使用迷宮密封,就加大了化工泵輸送物料泄漏的危險度。所以,化工泵一般不采用此種密封方法。
如何選擇化工泵密封?
化工泵經常輸送的是具有腐蝕性,或是有毒揮發的介質,因此其密封性能是衡量化工泵好與壞的標準之一。在選擇化工泵時,應參考如下標準。
1、密封形式有靜密封與動密封之分。
對于靜密封,通常只采用密封圈和密封墊兩種密封形式,而在密封圈中又以O型圈的應用性最廣泛;
對于動密封,很少采用填料密封,其主要是以機械密封為主,而機械密封之中又分單端面和雙端面、平衡型和非平衡型。其中平衡型較適應于高壓介質的密封,其通常指壓力大于1.0MPA。
而雙端面機封主要則是用于高溫、易結晶、有粘度、含顆粒以及有毒揮發的介質,雙端面機封應向密封腔中注入隔離液,其壓力一般高于介質壓力0.07~0.1MPA。
2、密封材料。
化工泵靜密封的材料通常情況下使用氟橡膠材料,在特殊情況會采用聚四氟材料;
機械密封動靜環的材料要慎重,并不是全部都選用硬質合金就好。若是全部選擇硬質合金,那么價錢會很高。
一般情況都是靜環硬,動環軟。比如碳化硅和石墨。相對比較經濟實惠,只有在特殊高溫,并介質中有顆粒的情況,動靜環才要選用硬對硬的材料。應視其具體情況而定。
來源:化工707、泵業之家